7일 특허정보 검색서비스 ‘키프리스’에 따르면 현대제철은 지난해 총 362건의 특허를 등록했다. 이는 2024년 등록 150건 대비 무려 141% 증가한 규모다.
출원 분야별로는 설비·장치가 117건(32.3%)으로 가장 큰 비중을 차지했다. 이어 ▲강판·강재 101건(27.9%) ▲전기강판 62건(17.1%) ▲시스템 44건(12.2%) ▲부품 35건(9.7%) 순으로 집계됐다. 설비 효율과 공정 자동화를 위한 특허가 전체의 절반 이상을 차지했다.

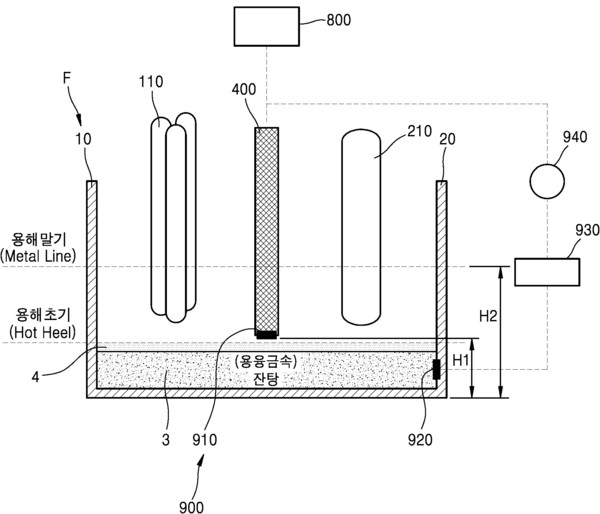
해당 기술은 광석과 철 스크랩을 함께 용해하는 과정에서 발생하는 불순물이 서로 섞이지 않도록 전기로 내부를 두 개의 공간으로 구분하고, 중앙 격벽을 상하로 조절해 쇳물과 슬래그를 분리하는 구조다. 여기에 정련용 분말 재료를 자동으로 투입하는 기능을 결합해, 용해와 불순물 제거를 동시에 수행함으로써 공정 효율과 품질을 함께 높였다.
강판·강재 분야에서는 이송 중인 강판의 평탄도를 정밀하게 측정하는 기술이 주목된다. 이동 과정에서 발생하는 진동 성분을 제거해 실제 강판 표면 형상을 정확히 산출하는 방식으로, 품질 관리의 신뢰도를 높이는 데 초점을 맞췄다.
전기강판 분야에서는 냉연 강판과 무방향성 전기강판 제조 방법이 있다. 두 장 이상의 열연 강판을 겹쳐 압연한 뒤 소둔과 코팅 공정을 거쳐 강판 조직이 중앙과 가장자리로 구분되도록 설계하는 기술이다. 이를 통해 자성 특성을 안정화하고 제품 균일성을 높였다. 소둔은 압연 과정에서 손상된 내부 조직을 열로 회복시키는 핵심 열처리 공정이다.
시스템 분야에서는 산세성 평가 시스템이 대표적이다. 강판 시편을 산에 담갔다가 세척·건조하는 과정을 자동으로 반복하며 무게 감소량을 측정해 산세 공정의 적정 여부를 판단한다. 작업자 의존도를 낮추고 공정 평가의 객관성을 높이기 위한 기술이다.
현대제철은 실제 생산 현장에서도 공정 효율 중심의 디지털 전환을 추진하고 있다. 지난해 12월 포항공장 특수강 정정라인에 미소정보기술의 ‘스마트 AI 플래너’를 적용했다. 문서 기반 수작업 공정 관리에서 벗어나 다품종·소량 생산 특성을 반영한 웹 기반 자동 스케줄링으로 생산성 향상과 제조 환경의 디지털 전환(AX)을 추진하고 있다.
현대제철 관계자는 “설비 운영 효율을 높이고 자동화를 적극 추진해 생산성과 원가 경쟁력을 지속적으로 확보하기 위한 기술 개발을 이어가고 있다”고 말했다.
[소비자가만드는신문=이범희 기자]
